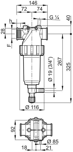
1 1/4"-50M NYOMÓSZŰRŐ BELSŐ MENETTEL

TERMÉKKÓD: 3282153

28 969 Ft