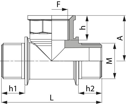
2" K-B-K MENETES T-IDOM

TERMÉKKÓD: 1322070

4 166 Ft